Otsing


Registreeritud kasutajad



Otsing


Registreeritud kasutajad



Kõik tooted - Põrandaküttesüsteemid - Põrandakütte automaatika - ENGO

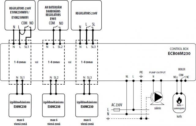
Kontrollboks juhtmetega ENGO 230V NC 8-tsooni ECB8-230

Kood :
1982516

84.51 EUR

(Hinnad km-ga)

Kontrollboks on mõeldud põrandakütte uhtimiseks (8 tsooni). See võimaldab mugavalt ühendada juhtmega temperatuuriregulaatoreid ja ajamiseadmeid.
Sellel on sisseehitatud releed kütteseadme (boiler, tsirkulatsioonipump) juhtimiseks.
 

Tehnilised andmed
Pinge: 230 V AC
Maksimaalne koormus: 6 (1) A
Väljundid:
- pump (230 V),
- boiler (NO/COM),
- ajamid (NC, 230 V)
Mõõtmed [mm]: 330 x 110 x 36

 

ENGO TOOTEKATALOOG ON LEITAV SIIT!